Магазин запчастей для бытовой техники - Arlos
Москва
close
Выберите ваш регион
АбаканАлександровАльметьевскАнгарскАрзамасАрмавирАртемАрхангельскАстраханьАчинскБалаковоБалашихаБеларусьБелгородБердскБерезникиБийскБлаговещенскБратскБрянскВеликий НовгородВидноеВладивостокВладикавказВладимирВолгоградВолгодонскВолжскийВологдаВолховВоркутаВоронежВоскресенскВыборгГатчинаГеленджикГрозныйДедовскДербентДзержинскДзержинскийДимитровградДмитровДолгопрудныйДомодедовоДонецкЕвпаторияЕгорьевскЕкатеринбургЕлецЕссентукиЖелезногорскЖелезнодорожныйЖуковскийЗеленоградЗлатоустИвановоИвантеевкаИжевскИркутскИстраЙошкар-ОлаКазаньКалининградКалугаКаменск-УральскийКамышинКаспийскКемеровоКерчьКировКисловодскКлинКовровКоломнаКомсомольск-на-АмуреКопейскКоролёвКостромаКотельникиКрасногорскКраснодарКраснознаменскКрасноярскКурганКурскКызылЛенинск-КузнецкийЛипецкЛобняЛыткариноЛюберцыМагнитогорскМайкопМалаховкаМахачкалаМиассМоскваМурманскМуромМытищиНабережные ЧелныНазраньНальчикНаро-ФоминскНахабиноНаходкаНевинномысскНефтекамскНефтеюганскНижневартовскНижнекамскНижний НовгородНижний ТагилНовокузнецкНовокуйбышевскНовомосковскНовороссийскНовосибирскНовоуральскНовочебоксарскНовочеркасскНовошахтинскНовый УренгойНогинскНорильскНоябрьскОбнинскОдинцовоОктябрьскийОмскОрелОренбургОрехово-ЗуевоОрскПавловский ПосадПензаПервоуральскПермьПетрозаводскПетропавловск-КамчатскийПодольскПрокопьевскПсковПушкиноПятигорскРаменскоеРеутовРостов-на-ДонуРубцовскРыбинскРязаньСакиСалаватСамараСанкт-ПетербургСаранскСаратовСевастопольСеверодвинскСеверскСергиев ПосадСерпуховСимферопольСмоленскСосновый БорСочиСтавропольСтарый ОсколСтерлитамакСтупиноСургутСызраньСыктывкарТаганрогТамбовТверьТихвинТольяттиТомилиноТомскТроицкТулаТюменьУлан-УдэУльяновскУссурийскУсть-ИлимскУфаУхтаФеодосияФрязиноХабаровскХанты-МансийскХасавюртХимкиЧебоксарыЧелябинскЧереповецЧеркесскЧеховЧитаШахтыЩелковоЭлектростальЭлистаЭнгельсЮжно-СахалинскЯкутскЯлтаЯрославль
  • - бесплатно по РФ
    Автоперезвон. Работает по принципу: Вы позвонили на номер, мы сбрасываем звонок и перезваниваем через 3 секунды.
  • - по Москве
  • 8 (925) 663-83-63

Call-центр

пн-вс: 10:00-19:00

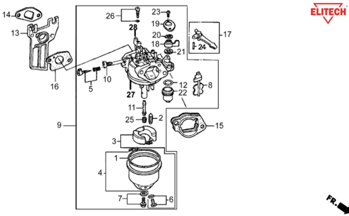
ЗАПЧАСТИ ДЛЯ МОТОПОМПЫ БЕНЗИНОВОЙ ELITECH МБ 810 Д 80 (КАРБЮРАТОР)

NАртикулНазваниеСрок отгрузкиЦенаКупить
1 0104.056900 Кольцо уплотнительное
2 0104.057000 Клапан поплавка
3 0104.057100 Поплавок
4 0104.057200 Камера поплавковая
5 0104.057300 Винт регулировочный холостого хода (T)
6 0104.057500 Пробка сливная
7 0104.057400 Винт
8 0104.057600 Заслонка воздушная
9 0400.250120 Карбюратор в сборе
10 0104.057800 Винт регулировочный состава смеси
11 0104.057900 Жиклер главный
12 0104.058000 Кольцо уплотнительное
13 0104.058100 Проставка карбюратора, МБ810Д80Г, 10530004 133 р.
14 0104.058200 Прокладка коллектора впускного
15 0104.058300 Прокладка фильтра воздушного. 10830003. СГБ 2500.3000.3500Р.WERT G2800-3500.КБ 60Н.Р 28 р.
16 0104.058400 Прокладка карбюратора. 10560003. СГБ 2500.3000.3500Р.WERT G2800-3500.КБ 60Н.Р 72 р.
17 0104.058500 Рычаг заслонки воздушной
18 0104.058600 Рычаг регулятора оборотов
19 0104.058700 Крышка рычага заслонки воздушной
20 0104.058800 Шайба
21 0104.058900 Шайба
22 0104.059000 Чашка фильтра топливного
23 0104.059100 Винт M4
24 0104.059200 Штифт пружинный M2х12 мм
25 0104.059300 Жиклер главный (2)
26 0104.059400 Жиклер холостого хода в сборе
27 0104.059500 Камера смесеобразования
28 0104.059600 Рычаг регулятора оборотов
Найдено товаров: 28
1
▲ Наверх
0
8 (925) 663-83-63

Call-центр

пн-вс: 10:00-19:00

НАЙТИ ПО МОДЕЛИ
Введите номер заказа
Введите номер своего заказа, что бы узнать его текущий статус.
Что бы получить доступ к расширенным функциям, пройдите не сложную регистрацию. Зарегистрироваться